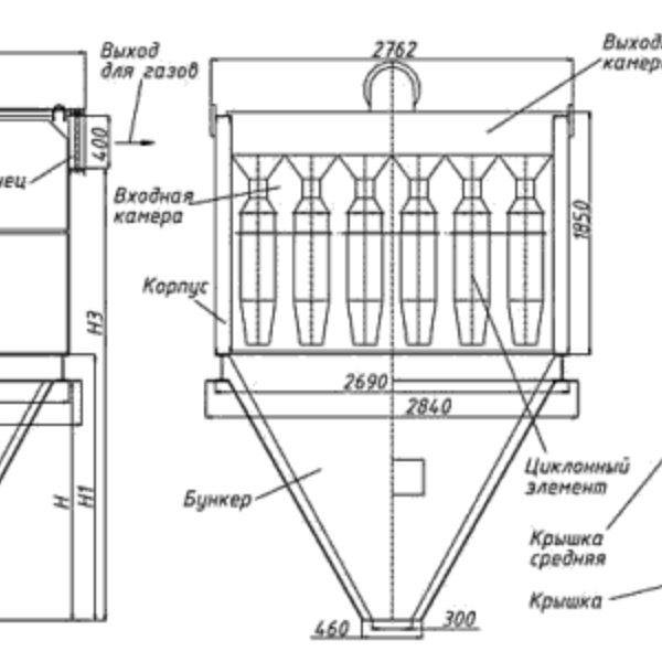
Устройство и принцип работы циклона БЦ-254-2-4x(3+2)
Батарейные циклоны БЦ-254-2-4x(3+2) — это ряд параллельно расположенных циклонных элементов в общем стальном корпусе с общим двухкамерным бункером. Количество циклонных элементов, расположенных в корпусе, определяется производительностью. Обычно это 20-56 элементов диаметром 254 мм. Каждый из них имеет две параллельно функционирующие секции с предохранительными клапанами, которые защищают устройство от повреждений на случай взрыва. Если нагрузка на циклон недостаточно высокая, при помощи шибера можно отключить одну из камер и циклон будет работать в половину своих возможностей.
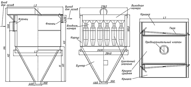
Сначала потоки загрязненного воздуха проникают через входное отверстие и попадают в чугунные циклонные элементы, где вращающимся потоком продвигаются вперед. Твердые частицы золы и пыли прилипают к стенкам корпуса, и совместно с потоками газа опускаются в бункер. Очищенный воздух поднимается наверх по центральной части корпуса и выводится через выхлопную трубу. Осевшие частицы удаляются из бункера вручную. При большой производительности выгрузка остатков должно производиться своевременно и регулярно.
Условное обозначение
Циклон БЦ-254-2-4x(3+2), где:
- Б — батарейный;
- Ц — циклон;
- 254 — диаметр циклонного элемента, мм;
- 2 — количество секций;
- 4x(3+2) — количество элементов.
Монтаж циклона БЦ-254-2-4x(3+2)
Эффективность работы батарейного циклона БЦ-254-2-4x(3+2) зависит от соблюдения СНиП 11-35-76 «Котельные установки» и «Правил устройства и безопасной эксплуатации паровых и водогрейных котлов». Чтобы не допустить перепад температур и образования конденсатов, прибор устанавливают внутри помещения. Если котельная располагается за пределами помещения или не имеет стабильность температуры, то корпус циклона обшивается теплоизоляционными материалами.
Установка и пуско-наладочные работы выполняют специалисты, которые имеют разрешение на проведение данных работ. При установке циклона на удаленном расстоянии от котла, недопустимы перегибы, сужения и расширения газопровода.



